https://www.tradgardsteknik.se/logotyper/bill_logo_1.png
Patric Torle
info@tradgardsteknik.se
0431-222 90
0431-222 70
Trädgårdsteknik AB tillverkar och bygger växthus, specialväxthus, orangerier, belysning Garden för hela Skandinavien.
Helsingborgsvägen 578
ÄNGELHOLM
262 96
SWEDEN

Dränkbara mixers med växel - CMD horisontella  




Dränkbara mixers med växel - CMD horisontella

MELANGEUR DRÄNKBAR HORISONTELL A INCLINAISON VARIABEL

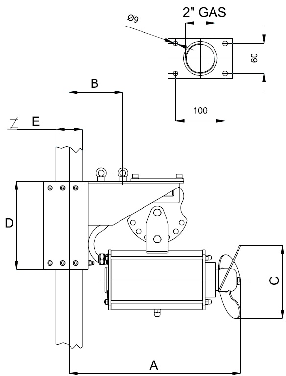
TYP [kW] A[mm] B[mm] C[mm] D[mm] E[mm] Vikt
CMD 060 W + 0075 41 N1 0,75
400 180 181 220 60x60 17,5
CMD 060 W + 0110 41 N1 1,1 400
180 176 220 60x60 19
CMD 002 W + 0075 41 N1 0,75 400
180 181 220 2"GAS 20
CMD 002 W + 0110 41 N1 1,1 400
180 176 220 2"GAS 22

 

TYP [kW] A R[Pm] Antal blad Vikt
CMD 060 W + 0075 41 N1 0,75
2,2 1400 3 279
CMD 060 W + 0110 41 N1 1,1 2,8
1380 3
360
CMD 002 W + 0075 41 N1 0,75 2,2
1400 3
279
CMD 002 W + 0110 41 N1 1,1 2,8
1380 3
360

TILLÄMPNINGAR
Denitrifikationsbassänger
Agitatorer av avloppsvatten
Slambehandlingsbassänger
Disinfektionsbehållare
Industriell blandningar

 



TYP [kW] A[mm] B[mm] C[mm] D[mm] E[mm] Vikt
CMD 080 W + 0150 63 N1 1,5
400 180 181 220 60x60 17,5
CMD 080 W + 0220 63 N1 2,2 400
180 176 220 60x60 19

 

TYP [kW] A[mm] R[Pm] Antal blad Vikt
CMD 080 W + 0150 63 N1 1,5
4,2 925 3 643
CMD 080 W + 0220 63 N1 2,2 5,9
940 3 876

 

 

TYP [kW] A[mm] B[mm] C[mm] D[mm] E[mm] Vikt
CMD 080 W + 0075 41 N1 1,5
586 383 287 330 80x80 65,5
CMD 080 W + 0110 41 N1 2,2 586
383 347 330 80x80 65,5
CMD 080 W + 0075 41 N1 3 586
383 385 330 80x80 67,5

TYP [kW] A R[Pm] Antal blad Vikt
CMD 080 W + 0150 41 N1 1,5
4,2 925 3 643
CMD 080 W + 0220 41 N1 2,2 5,9
940 3
876
CMD 088 W + 0300 41 N1 3,00 8
935 3
1061
  • Dränkbara mixers med växel - CMD horisontella
    Art. nr.
    CAP0426
    Dränkbara mixers med växel - CMD horisontella
För mer information kontakta oss på
0431-222 90


TRÄDGÅRDSTEKNIK AB
Helsingborgsv., Varalöv
262 96 ÄNGELHOLM
Telefon:
0431-222 90
Org Nr:
556409-6120
Webbadress:
www.tradgardsteknik.se
E-post:
info@tradgardsteknik.se