https://www.tradgardsteknik.se/logotyper/bill_logo_1.png
Patric Torle
info@tradgardsteknik.se
0431-222 90
0431-222 70
Trädgårdsteknik AB tillverkar och bygger växthus, specialväxthus, orangerier, belysning Garden för hela Skandinavien.
Helsingborgsvägen 578
ÄNGELHOLM
262 96
SWEDEN

Dränkbara motorer CAPRARI E10S  




Dränkbara motorer CAPRARI E10S

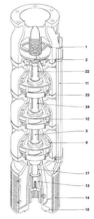
Pump konstruktion och material

 

 

  Pos
      Delar              
Material
1 Valve hölje Gjutjärn
2 Koniska ventil Gjutjärn
3 Pump skaft Rostfritt stål
9 Diffusor enhet Gjutjärn
11 Kabeln guard Rostfritt stål
12 Impeller Gjutjärn
13 Koppling Rostfritt stål
14 Sil Rostfritt stål
15 Sugning hölje (NEMA) Stål
15 Sugning hölje Brons
17 Uthärda bush Stål/gummi
22 Bära ring Stål/gummi
 
Motor konstruktion och material
 

  

  Pos
     Delar              
Material
1 Skaft Rostfritt stål
2 Sand guard Gummi
6 Rotor
Stål för elektriskt ändamål
7 Stator
Stål för elektriskt ändamål
8 Stator shell Rostfritt stål
9 Slingrande
HT tråd
11 Nedre fäste Rostfritt stål
13 Mekanisk tätning
Kiselkarbid/silicon
hårdmetall
14-15 Försedda med
HT komposit
16 Thrust-bearing(15:40 Cv)
Rostfritt stål /
Syntetiska förening
16 Thrust-bärande (5:12 Cv)
Mässing/syntetiska
förening
17 Thrust-bärande foten glida Fundición nodular
18 Membran Gummi
19 Membranet täcker Teknopolymer
20 Övre fäste Gjutjärn

Dränkbara motorer E10-serien DN i tum energi

För mer information kontakta oss på
0431-222 90


TRÄDGÅRDSTEKNIK AB
Helsingborgsv., Varalöv
262 96 ÄNGELHOLM
Telefon:
0431-222 90
Org Nr:
556409-6120
Webbadress:
www.tradgardsteknik.se
E-post:
info@tradgardsteknik.se